手提式水基灭火器

一、禁告:
该灭火器不可用于扑灭带电设备的火灾,否则将威胁人身安全。
二、产品介绍
我公司生产的MPZ系列水基型灭火器是按照GB4351-2005标准进行生产,其筒体采用优质碳素钢经特殊工艺加工而成。该系列灭火器具有结构简单、操作灵活、使用方便、价格低廉等优点。广泛应用于各行各业。
三、灭火器的结构与组成
该灭火器主要由筒体总成、器头总成、喷管总成等组成,灭火剂为水成膜泡沫预混液,驱动气体为氮气,常温下其工作压力为1.2MPa。
四、主要性能特点
1、该系列灭火器具有灭火效率高,灭火迅速等特点,内装的灭火剂具有性能稳定、无毒、无污染、便于保管等优点。
2、使用的驱动气体无毒、无味,喷射后对人体无伤害。
3、灭火器瓶头阀装有压力表,具有显示其内部压力的作用,便于检查维修。
五、使用范围
1、适用于扑救易燃固体或液体的初起火灾,但不可扑救带电设备的火灾,广泛应用于油田、油库、轮船、工厂、商店等场所,是预防火灾发生保障人民生命财产的必备消防装备。
2、使用温度范围为:+5℃~+55℃。
六、主要技术参数(20℃±5℃)
| 型号 | 灭火剂重量kg | 有效喷射时间s | 有效喷射距离m | 喷射滞后时间s | 喷射剩余率% | 发泡倍数 | 25%析液时间s | 灭火级别 | |
|
A |
B |
||||||||
|
MPZ/3 |
|
≥15 |
≥3.0 |
≤5 |
≤15 |
≥5 |
60 |
1 |
55 |
|
MPZ/6 |
|
≥30 |
≥3.5 |
1 |
55 |
||||
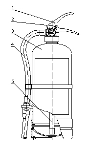
七、结构简图


1、虹吸管
2、喷筒总成
3、筒体总成
4、保险装置
5、器头总成
八、使用方法
将灭火器提至火灾现场,拔出保险销,紧握喷射软管,压下压把,对准火焰根部,A类扫射灭火,B类覆盖灭火;放开手把,可停止喷射,从而实现间隙喷射。
九、维修保养
1、存放环境温度为:+5℃~+45℃;不得受到烈日爆晒、接近火源或受剧烈振动。
2、灭火器应放牢靠,存放地点通风干燥。
3、经常检查保险销及铅封是否完好,压力值是否符合要求,零部件是否松动、变形、锈蚀或损坏。
4、灭火器期满三年后每隔二年或再充装前应检查瓶头阀、喷管等有无损坏,检查筒体是否锈蚀;并进行2.1MPa的水压试验,不合格者应进行报废处理。
5、灭火器的维修或再充装应由有资质的专业消防维修部门进行修理,使用者不得擅自拆装或修理;具体可参阅本公司的维修手册。


